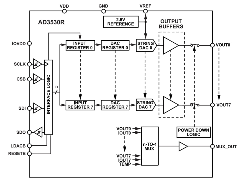
Analog Devices Inc. CNA 8 canaux, 16 bits AD3530/AD3530R
Les convertisseurs numériques-analogiques (CNA) 8 canaux, 16 bits AD3530/AD3530R d'Analog Devices disposent de contrôles de gain programmables par logiciel qui permettent d'obtenir des plages de sortie à pleine échelle de 2,5 V ou 5 V pour des tensions de référence de 2,5 V. Les dispositifs fonctionnent avec des plages d'alimentation uniques de 2,7 V à 5,5 V et sont certifiés monotones par conception. L'AD3530R dispose également d'une référence interne de 2,5 V, 5 ppm/°C qui est désactivée par défaut.Les convertisseurs numériques-analogiques (CNA) AD3530/AD3530R d'ADI incluent des multiplexeurs intégrés qui permettent de surveiller les tensions de sortie, les courants et la température interne de la puce. Les dispositifs combinent des circuits de réinitialisation au démarrage (POR) qui confirment la puissance de sortie des CNA jusqu'à 32 kΩ à la terre jusqu'à ce qu'une écriture valide soit exécutée. Les convertisseurs numériques-analogiques intègrent également des modes d'économie d'énergie qui réduisent la consommation de courant à 670 μA, standard.
L'interface périphérique série (SPI) et l'interface série à 4 fils compatible MICROWIRE®fonctionnent à des niveaux logiques aussi bas que 1,08 V jusqu'à 1,98 V et des fréquences d'horloge jusqu'à 50 MHz.
Les AD3530/AD3530R sont logés dans des boîtiers WLCSP à 25 billes de 2,1 mm × 2,2 mm.
Caractéristiques
- Résolution 16 bits, ±3 LSB16 INL, ±1 LSB16 DNL
- TUE de ±0,22 % de FSR maximum
- Erreur de décalage de ±1,6 mV maximum
- Erreur de gain de ±0,26 % de FSR maximum
- Courant d'alimentation garanti de 50 mA
- Marge de fonctionnement ultra-faible : 25 mV à une charge de 20 mA
- Tension de référence interne de 2,5 V, 5 ppm/°C, standard
- Densité spectrale de bruit de 62 nV/√Hz (référence externe)
- Densité spectrale de bruit de 115 nV/√Hz (référence interne)
- Contrôle de la tension de sortie, du courant et de la température de la puce
- Écriture et lecture SPI de 50 MHz
- Plage d'alimentation électrique de 2,7 V à 5,5 V
- Interface numérique compatible 1,2 V ou 1,8 V
- Plage de température de fonctionnement de -40 °C à +125 °C
- Petit boîtier WLCSP à 25 billes de 2,1 mm x 2,2 mm
Applications
- Émetteurs-récepteurs optiques
- Test et mesure
- Automatisation industrielle
- Systèmes d'acquisition de données
Schéma fonctionnel
