Analog Devices Inc. Convertisseurs analogique-numérique quadruple canal AD4134
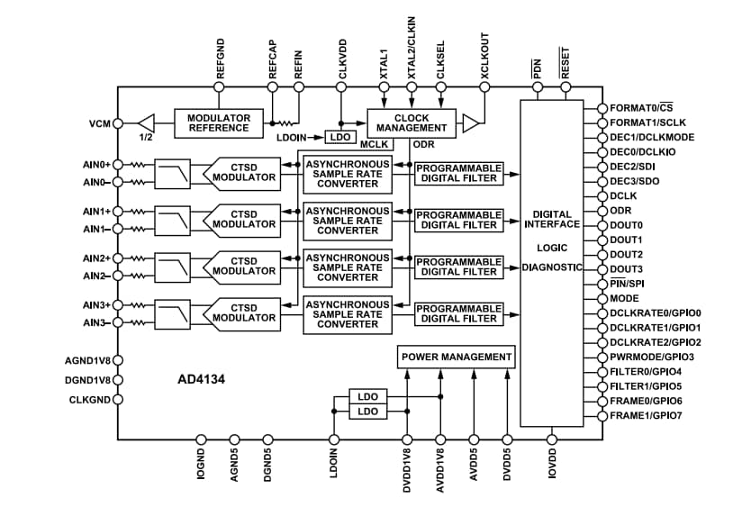
Les convertisseurs analogique-numérique (CAN) quadruple canal AD4134 d'Analog Devices Inc. sont des CAN à faible bruit, échantillonnage simultané, de précision qui offrent une fonctionnalité, des performances et une facilité d'utilisation élevées. Les CAN quadruple canal AD4134 d'ADI sont basés sur le schéma de modulation sigma-delta (CTSD) à temps continu. L'AD4134 supprime l'échantillonnage de circuit de condensateur commuté habituellement requis avant le modulateur Σ-Δ, ce qui conduit à une relaxation des exigences de pilotage d'entrée du CAN. De plus, l'architecture CTSD rejette aussi intrinsèquement les signaux autour de la bande de fréquence de repliement du CAN, donnant au composant sa capacité anti-repliement inhérente et supprimant le besoin d'un filtre anti-repliement externe compliqué.Caractéristiques
- Sans repliement : mode hautes performances de rejet d'anticrénelage inhérent 102,5 dB, standard
- Excellentes performances CA et CC
- Plage dynamique de 108 dB à ODR = 374 kS/s, filtre FIR, standard
- Plage dynamique de 137 dB à ODR = 10 S/s, filtre sinc3, standard
- THD : -120 dB standard avec 1 kHz de tonalité d'entrée
- Dérive d'erreur de décalage : 0,9 µV/°C standard
- Dérive de gain : 2 ppm/°C standard
- INL : ±2 ppm de FSR standard
- Amélioration dynamique de la plage : mode de moyenne 4:1 et 2:1
- 126 dB, plage dynamique pondérée A
- CAN résistif et entrée de référence
- Facile à synchroniser : convertisseur de fréquence d'échantillonnage asynchrone
- Synchronisation multidispositif avec une seule ligne de signal
- Débits de données programmables de 0,01 kS/s à 1 146 kS/s avec une résolution de 0,01 S/s
- Option de contrôle du débit de données de sortie par un signal externe
- Options de filtre numérique de phase linéaire
- Filtre FIR à faible ondulation : ondulation de la bande de passage de 32 µdB, CC jusqu'à 161,94 kHz
- Filtre sinc3 à faible latence et filtre sinc6, CC jusqu'à 391,5 kHz
- Filtre sinc3 avec réjection 50 Hz/60 Hz
- Diaphonie 130,7 dBFS
- Mise en guirlande
- Vérification d'erreur CRC sur les données et SPI
- Deux modes d'alimentation : mode haute performance et mode faible puissance
- Alimentation de 4,5 V à 5,5 V et 1,65 V à 1,95 V
- Niveau IOVDD 1,8 V
- Référence externe 4,096 V ou 5 V
- Horloge CMOS à quartz ou externe de 48 MHz
- Fonctionnement configurable SPI ou broche (autonome)
- Plage de températures de fonctionnement : de -40 °C à +105 °C
- Disponible en LFCSP de 8 mm × 8 mm, 56 fils avec pastille exposée
Applications
- Test et mesure électriques
- Test audio
- Analyse triphasée de la qualité de l'alimentation
- Contrôle et vérification du matériel en boucle
- Sonars
- Surveillance d'état pour la maintenance prédictive
- Recherche et développement en sciences acoustiques et matérielles
Vidéos
Schéma de principe
Publié le: 2021-12-27
| Mis à jour le: 2025-07-31
