Analog Devices Inc. Capteur magnétique AMR AD4570
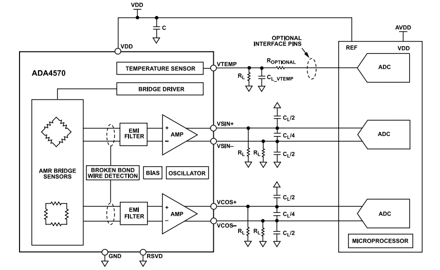
Le capteur magnétique à magnétorésistance anisotrope (AMR) AD4570 d'Analog Devices Inc. intègre des amplificateurs de conditionnement du signal et des pilotes de convertisseur analogique-numérique (CAN). Le capteur ADA4570 produit deux sorties analogiques différentielles qui indiquent la position angulaire du champ magnétique environnant. L'ADA4570 se compose de deux puces dans un seul boîtier, d'un capteur AMR et d'un amplificateur d'instrumentation à gain fixe. Les capteurs AMR fournissent des signaux de sortie sinus et cosinus différentiels amplifiés par rapport à l'angle. Les capteurs AD4570 disposent d’une mesure angulaire sans contact, d’un capteur angulaire 180 ° de haute précision et de diagnostics de défaillance pour une solution à puce unique.Le capteur magnétique AMR AD4570 d'Analog Devices Inc. est fourni avec deux ponts de Wheatstone, à un angle relatif de 45° l'un par rapport à l'autre. A complete rotation of a dipole aimant produces two periods on the sinusoidal outputs. L'angle magnétique (α) calculé à partir des sorties différentielles SIN et COS représente l'orientation physique de l'aimant. Ce capteur AMR est homologué AEC-Q100 pour les applications automobiles et est disponible en boîtier SOIC à 8 fils. L'application standard comprend la commande et le positionnement du moteur CC brushless, la commande et le positionnement de l'actionneur, la mesure et la détection angulaires sans contact et la détection de position angulaire magnétique.
Caractéristiques
- Mesure angulaire sans contact
- Capteur angulaire 180° de haute précision
- Erreur angulaire standard de ±0,1°
- Faible bruit de sortie de 850 μVrms
- Sorties différentielles sinus et cosinus
- Sorties de tension analogique ratiométrique
- Hystérésis négligeable
- Compatible avec le CAN SAR ou Σ-Δ
- Pont AMR compensé en température
- Plage de température industrielle de -40 °C à +125 °C
- Plage de température automobile de -40 °C à +150 °C
- Résistance EMI
- Diagnostics des défaillances
- Plage de tension d'alimentation de fonctionnement de 2,7 V à 5,5 V
- Erreur de phase minimale de 0,85° à 30 000 tr/min
- Certifié AEC-Q100 pour les applications automobiles
- Solution à simple puce
- Disponible en boîtier SOIC à 8 fils
Applications
- Mesure de position absolue (linéaire et angulaire)
- Contrôle et positionnement de moteur brushless CC
- Contrôle et positionnement d'actionneur
- Mesure et détection angulaire sans contact
- Capteur de position angulaire magnétique
Schéma de principe
Circuit d'application standard
Courbe de performance
Ressources supplémentaires
Pourquoi les capteurs AMR sont une excellente option pour les mesures de position de haute précision ?
