Analog Devices Inc. Circuit de démonstration DC3008A pour LT8386
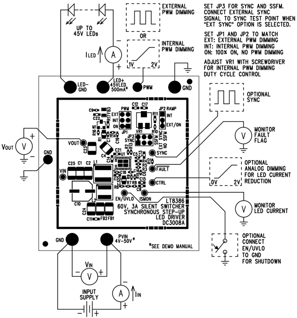
Le circuit de démonstration DC3008A d'Analog Devices pour LT8386 est un pilote LED élévateur synchrone 60 V 3 A Silent Switcher disposant du LT8386. Il pilote une seule chaîne de LED à 500 mA jusqu'à 45 V lorsque la VIN est comprise entre 4 V et 40 V. Il s'exécute jusqu'à VIN avec des ILED réduits et peut supporter jusqu'à 50 V de VIN, mais dispose d'un verrouillage de surtension (OVLO) défini pour 45 V pour cette application. Le DC3008A fonctionne à une fréquence de commutation de 340 kHz. La modulation de fréquence à spectre étalé (SSFM) peut être activée avec un cavalier simple, réduisant les EMI. Le DC3008A d'Analog Devices est fourni avec des caractéristiques à faible EMI, notamment une disposition optimisée, un SSFM et un filtre EMI d'entrée.Il est protégé contre les conditions LED ouvertes et courtes et signale les défaillances. Le convertisseur boost LT8386 dispose d'une plage de tension d'entrée de 4 V à 56 V. Ses commutateurs internes synchrones 3,3 A 60 V permettent jusqu'à 52 V de LED (avec résistances FB ajustées) sur la sortie avec de la place pour une protection contre les surtensions et un dépassement pendant un événement LED ouvert. Il dispose d'une fréquence de commutation réglable entre 200 kHz et 2 MHz. Il peut être synchronisé avec une source externe ou programmé avec SSFM pour une faible EMI. Le pilote de MOSFET PWMTG côté haut PWM aide à la protection contre les courts-circuits et à la polyvalence. Le LT8386 peut être configuré comme un pilote LED en mode boost, boost-buck ou buck et maintenir des caractéristiques de faible EMI, de variation PWM et de diagnostic de défaillance.
Le LT8386 peut être gradé PWM avec un signal PWM externe ou un signal PWM généré en interne. Le DC3008A dispose d'un cavalier qui peut être réglé pour basculer entre le signal PWM généré en interne, le signal PWM généré en externe et le signal sans PWM (100% ACTIVÉ). Il peut être à variation analogique avec une tension de contrôle sur sa broche de contrôle (CTRL). Lorsqu'il est exécuté avec une gradation PWM et SSFM, le SSFM s'aligne sur le signal PWM pour un fonctionnement sans scintillement.
De petits condensateurs céramiques d'entrée et de sortie sont utilisés pour économiser de l'espace et des coûts. La carte est conçue avec de petits condensateurs haute fréquence des deux côtés des broches VOUT pour réduire les émissions. La protection ouverte contre les surtensions LED utilise la boucle de régulation à tension constante du CI pour réguler la sortie à environ 57 V si la chaîne LED est ouverte. Le courant de sortie peut être surveillé via le point de test ISMON. Le verrouillage de sous-tension et de surtension peut être ajusté sur le circuit avec quelques choix de résistances simples. Il existe un filtre EMI sur l'entrée du DC3008A.
Configuration du test
