STMicroelectronics ST7580 Multi-Mode Power Line SoC Devices
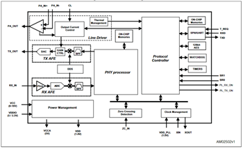
STMicroelectronics ST7580 Multi-Mode Power Line System-on-Chip (SoC) Devices are based on dual digital core architecture, a PHY processor engine, and a protocol controller core. These ST7580 SoC feature host controller UART interface up to 57.6kbps, AES-128 based authentication and confidentiality services, and zero crossing detection. The multi-mode power line SoC devices are suitable for EN50065, FCC part 15, and ARIB compliant applications. These ST7580 ICs operate from -40°C to +105°C temperature range. Typical applications for the STMicroelectronics ST7580 Multi-Mode Power Line System-on-Chip include command and control networking, smart metering, and street lighting control.Features
- Fully integrated narrow-band power line networking system-on-chip
- High-performing PHY processor with embedded turnkey firmware featuring:
- B-FSK modulation up to 9.6kbps
- B-PSK, Q-PSK, 8-PSK modulations up to 28.8kbps
- Dual channel operation mode
- Convolutional error correction coding
- Signal-to-noise ratio estimation
- B-PSK with PNA mode against impulsive noise
- Protocol engine embedding turnkey communication protocol:
- Framing service
- Error detection
- Sniffer functionality
- Host controller UART interface up to 57.6kbps
- AES-128 based authentication and confidentiality services
- Suitable for EN50065, FCC part 15, and ARIB compliant applications
- Communication carrier frequency programmable up to 250kHz
- VFQFPN48 exposed pad package
- -40°C to 105°C operating temperature range
Applications
- Smart metering
- Street lighting control
- Command and control networking
Dimensions
Publié le: 2018-11-29
| Mis à jour le: 2023-02-24
