Texas Instruments Convertisseur Buck synchrone TPS546E25W
Le convertisseur Buck synchrone TPS546E25W de Texas Instruments est un dispositif de 50 A avec une exploitation monophasée FCCM PmBus. Ce convertisseur est un convertisseur Buck hautement intégré avec topologie de contrôle D-CAP4 pour une réponse transitoire rapide. Les paramètres programmables des convertisseurs abaisseurs TPS546E25W peuvent être configurés via l’interface PmBus et stockés dans NVM comme nouvelles valeurs par défaut pour minimiser le nombre de composants externes. L’interface PMBus avec prise en charge de l’horloge 1 MHz offre une interface numérique standardisée et pratique pour la configuration et la télémétrie des paramètres clés. Deux, trois et quatre dispositifs TPS546E25W peuvent être interconnectés pour fournir jusqu'à 50 A sur une sortie unique. Le convertisseur TPS546E25W permet de remplacer le LDO interne de 4,5 V par une alimentation externe de 5 V via les broches VDRV et VCC. Ce convertisseur Buck est un dispositif sans plomb et conforme à la directive RoHS sans exemption. Le TPS546E25W est idéal pour les POL de serveur et de cloud computing, les accélérateurs de matériel et les cartes d’interface réseau (NIC).Caractéristiques
- Tension d’entrée de 2,7 V à 18 V avec polarisation externe
- Tension d’entrée de 4 V à 18 V sans polarisation externe
- Plage de tensions de sortie de 0,4 V à 5,5 V
- Prend en charge dispositif monophasé 50 A (empilage désactivé par défaut)
- Rdson_HS = 2,6 mΩ, Rdson_LS = 1 mΩ
- Plage de fréquence de fontionnement de 400 kHz à 2 MHz (quatre réglages discrets via une bande de broches, réglages supplémentaires via PmBus®)
- Programmable via PmBus :
- La révision 1.5 est conforme à la caractéristique de sécurité PASSKEY
- Tension d'entrée, tension de sortie, courant de sortie et télémétrie de température
- Protections programmables contre les surintensités, les surtensions, les sous-tensions et la surchauffe
- Comprend une fonction d’écriture d’une seule commande dans une configuration empilée
- Caractéristique de protection en écriture étendue
- Mémoire non volatile pour stocker les paramètres de configuration
- Deux méthodes pour programmer la tension de sortie :
- Diviseur de résistance interne (paramètres discrets) avec tension de démarrage sélectionnée via une connexion de broches
- Diviseur de résistance externe (réglagescontinus) avec tension de démarrage sélectionnée par VBOOT
- Référence de tension de précision et détection différentielle à distance pour une précision de sortie élevée :
- Précision du CNA de ± 0,5 %, à une température de jonction de 0 °C à 85 °C
- Tolérance VOUT de ± 0,85 %, à une température de jonction de -40 °C à 125 °C
- FCCM/DCM sélectionnable uniquement en monophasé
- Mise en service sans communication PmBus via un système de connexion par broche
- Mise en service sécurisée dans une sortie prépolarisée
- Temps de démarrage progressif programmable de 0,5 ms à 16 ms
- Topologie de contrôle D-CAP4 avec réponse transitoire rapide, prenant en charge tous les condensateurs de sortie en céramique
- Compensation de boucle interne programmable
- Limite de courant de creux cycle par cycle sélectionnable
- Sortie power good à drain ouvert
Applications
- Serveur et POL de l'informatique en nuage
- Accélérateurs de matériel
- Carte d'interface réseau (NIC)
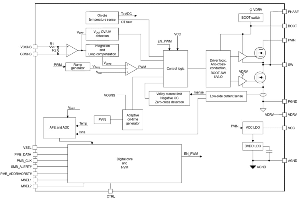
Schéma fonctionnel lorsque la rétroaction externe est sélectionnée
Schéma
Publié le: 2025-09-23
| Mis à jour le: 2025-10-29
