Infineon Technologies Kit Wi-Fi® 6/6E & BLUETOOTH® CYW9RPIWIFIBT-EVK
Le kit Wi-Fi® 6/6E et BLUETOOTH® CYW9RPIWIFIBT-EVK Infineon Technologies est conçu pour évaluer, prototyper et développer diverses applications Wi-Fi et BLUETOOTH. Le kit CYW9RPIWIFIBT-EVK Infineon Technologies est alimenté par un module de calcul Raspberry Pi 4 Lite et comprend le Wi-Fi 6/6E, le BLUETOOTH 5.3, une image Linux préchargée et une antenne dipôle pour une connectivité améliorée. Le kit comprend une carte M.2 d'Embedded Artists avec un module Murata 2EA, offrant des capacités de mesure d'alimentation et de lecture audio. Remplacez la carte M.2 CYW55573 installée par toute autre carte M.2 d'Infineon pour étendre les options d'évaluation. L'accès à distance est disponible via une borne UART.Caractéristiques
- Alimenté par un module d'ordinateur Raspberry Pi 4 Lite
- Wi-Fi 6/6E
- Bluetooth 5.3
- Image Linux préchargée
- M.2 Embedded Artists avec module 2EA Murata
- Antenne dipôle
- Capacités de mesure de puissance
- Capacités de lecture audio
- Accès à distance via terminal UART
Applications
- Applications Wi-Fi
- Applications Bluetooth
Contenu du kit
- Carte d'évaluation CYW9RPIWIFIBT-EVK (avec module hôte Raspberry-Pi CM4 et carte radio M.2 CYW955573)
- Deux antennes dipôles tri-bandes
- Câble USB Type-C™ vers Type-C
- Guide de démarrage rapide
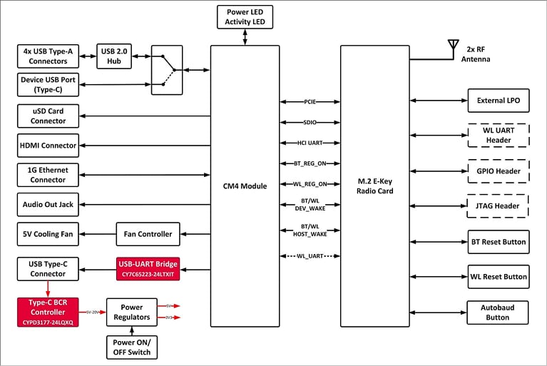
Schéma fonctionnel
Ressources supplémentaires
Publié le: 2024-09-25
| Mis à jour le: 2025-01-23
